Comment améliorer encore la précision de l'installation des outils de refendage en production réelle ?
vues : 13473
auteur : Yuan Feng
temps de mise à jour : 2021-01-20 11:34:00
Plus les outils de refend sont précis, meilleure est la qualité des bandes. Ainsi, il est nécessaire d'améliorer la précision pour mieux servir l'amélioration de la qualité du produit. Voici plusieurs méthodes :
1. Pour les outils avec une tolérance médiocre, leur épaisseur réelle peut être mesurée et appariée. La faible précision des outils de coupe est un fait accompli, et les utilisateurs ne peuvent pas la changer, mais par appariement, nous pouvons améliorer leur précision. Bien sûr, cela nous causera beaucoup de tracas. Il est préférable de ne pas choisir cette méthode, à moins que nous n'ayons pas d'autre choix.
a. Préparez d'abord quelques outils de mesure de précision, incluant : un micromètre à affichage numérique, un jeu de 38 jauges de bloc manufacturées et une plaque de marbre.
b. Demandez à un opérateur expérimenté et responsable de mesurer le parallélisme (au moins quatre points) et l'épaisseur de toutes les lames de refendeuse, les noyaux de joints en caoutchouc, et les entretoises, et d'enregistrer les données mesurées sur la surface de l'outil. Ensuite, par une répartition manuelle, on élimine les erreurs et on améliore la précision.
2. Pour les outils avec une meilleure tolérance, leur épaisseur réelle peut être mesurée et regroupée. La tolérance d'épaisseur des couteaux de haute précision est de ± 1 µm, ce qui est déjà très précis. Cependant, les fabricants professionnels doivent les diviser en trois groupes : « + », « - » et « 0 ». L'appariement des « + » et « - » améliore la précision. Si nos outils ne peuvent pas atteindre la précision de ± 1 µm, cette méthode de regroupement peut toujours être apprise.
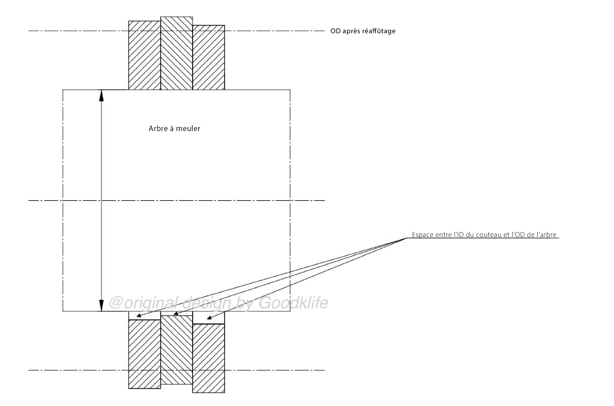
3. La méthode pour résoudre le problème du faux-rond radial des couteaux causé par un grand diamètre intérieur (ID) du couteau. Si le diamètre intérieur du couteau est grand, il doit y avoir un grand jeu entre le diamètre intérieur du couteau et les arbres (reportez-vous à la figure 1). Ce jeu entraînera un chevauchement inégal entre les couteaux circulaires supérieur et inférieur, et une pression inégale sur la bande de la part des bagues de séparation collées mâle et femelle. Pour résoudre ce problème, nous pouvons consciemment placer le couteau sur l'arbre de rectification dans une direction spéciale. S'il y un rainure de clavette, la rainure de clavette prévaut ; s'il n'y a pas de rainure de clavette, la marque du couteau prévaut. Après que le couteau ou la bague de séparation collée est placé sur l'arbre de rectification, serrez légèrement l'écrou, puis tapez sur un côté du cercle extérieur avec un marteau en caoutchouc pour rapprocher la surface du cercle intérieur des outils de l'arbre de rectification. S'il y a une rainure de clavette, utilisez un marteau en caoutchoux pour frapper le cercle extérieur du côté opposé à la rainure de clavette. Après cela, resserrez l'écrou et rectifiez sur une rectifieuse. Après rectification de cette manière, nous avons artificiellement créé un petit excentrement sur le couteau de refend et la bague de séparation collée. Mais ce petit excentrement compensera l'excentrement causé par le jeu initial après que le couteau et la bague de séparation collée sont mis dans l'arbre dans la même direction et séquence.
La Figure 2 montre que le Faux-rond Radial des Outils de Refend peut être Réparé par Rectification.
4. La méthode pour nettoyer l'outil de coupe :
a. N'utilisez jamais de mouchoirs sales pour nettoyer la surface de l'outil.
b. Si vous estimez que les outils ne sont pas assez propres, vous pouvez les laver avec de l'essence propre, en particulier la gorge de saleté, mais appliquez immédiatement de l'huile antirouille propre après le lavage.
c. Pour les contaminants et les taches de rouille qui ne peuvent pas être enlevés, utilisez une polisseuse pour nettoyer, mais assurez-vous de contrôler le temps de polissage.
1. Pour les outils avec une tolérance médiocre, leur épaisseur réelle peut être mesurée et appariée. La faible précision des outils de coupe est un fait accompli, et les utilisateurs ne peuvent pas la changer, mais par appariement, nous pouvons améliorer leur précision. Bien sûr, cela nous causera beaucoup de tracas. Il est préférable de ne pas choisir cette méthode, à moins que nous n'ayons pas d'autre choix.
a. Préparez d'abord quelques outils de mesure de précision, incluant : un micromètre à affichage numérique, un jeu de 38 jauges de bloc manufacturées et une plaque de marbre.
b. Demandez à un opérateur expérimenté et responsable de mesurer le parallélisme (au moins quatre points) et l'épaisseur de toutes les lames de refendeuse, les noyaux de joints en caoutchouc, et les entretoises, et d'enregistrer les données mesurées sur la surface de l'outil. Ensuite, par une répartition manuelle, on élimine les erreurs et on améliore la précision.
2. Pour les outils avec une meilleure tolérance, leur épaisseur réelle peut être mesurée et regroupée. La tolérance d'épaisseur des couteaux de haute précision est de ± 1 µm, ce qui est déjà très précis. Cependant, les fabricants professionnels doivent les diviser en trois groupes : « + », « - » et « 0 ». L'appariement des « + » et « - » améliore la précision. Si nos outils ne peuvent pas atteindre la précision de ± 1 µm, cette méthode de regroupement peut toujours être apprise.
3. La méthode pour résoudre le problème du faux-rond radial des couteaux causé par un grand diamètre intérieur (ID) du couteau. Si le diamètre intérieur du couteau est grand, il doit y avoir un grand jeu entre le diamètre intérieur du couteau et les arbres (reportez-vous à la figure 1). Ce jeu entraînera un chevauchement inégal entre les couteaux circulaires supérieur et inférieur, et une pression inégale sur la bande de la part des bagues de séparation collées mâle et femelle. Pour résoudre ce problème, nous pouvons consciemment placer le couteau sur l'arbre de rectification dans une direction spéciale. S'il y un rainure de clavette, la rainure de clavette prévaut ; s'il n'y a pas de rainure de clavette, la marque du couteau prévaut. Après que le couteau ou la bague de séparation collée est placé sur l'arbre de rectification, serrez légèrement l'écrou, puis tapez sur un côté du cercle extérieur avec un marteau en caoutchouc pour rapprocher la surface du cercle intérieur des outils de l'arbre de rectification. S'il y a une rainure de clavette, utilisez un marteau en caoutchoux pour frapper le cercle extérieur du côté opposé à la rainure de clavette. Après cela, resserrez l'écrou et rectifiez sur une rectifieuse. Après rectification de cette manière, nous avons artificiellement créé un petit excentrement sur le couteau de refend et la bague de séparation collée. Mais ce petit excentrement compensera l'excentrement causé par le jeu initial après que le couteau et la bague de séparation collée sont mis dans l'arbre dans la même direction et séquence.
La Figure 2 montre que le Faux-rond Radial des Outils de Refend peut être Réparé par Rectification.
4. La méthode pour nettoyer l'outil de coupe :
a. N'utilisez jamais de mouchoirs sales pour nettoyer la surface de l'outil.
b. Si vous estimez que les outils ne sont pas assez propres, vous pouvez les laver avec de l'essence propre, en particulier la gorge de saleté, mais appliquez immédiatement de l'huile antirouille propre après le lavage.
c. Pour les contaminants et les taches de rouille qui ne peuvent pas être enlevés, utilisez une polisseuse pour nettoyer, mais assurez-vous de contrôler le temps de polissage.

Fig. 1 Le jeu entre le diamètre intérieur du couteau et le diamètre extérieur de l'arbre provoque un faux-rond radial

Fig. 2 Faux-rond radial des outils de refend à réparer par rectification


